? ? ?2018年6月,周黑鴨公司發現西府巨芳公司未經許可在其開設的熟食鹵制品店的店鋪招牌、
購物袋上使用“周黑鴨ZHOU HEI YA”“周黑鴨ZHOU HEI YA及圖”商標,周黑鴨公司以侵害商標權為由訴至法院。
8月24日,北京知識產權法院作出判決:駁回上訴,維持一審判決。
?
基本案情:
? ? ?提起“辣鴨脖”相信很多人都會聯想到麻辣純正、回味甘甜的“周黑鴨”。正是因為“周黑鴨”享有較高的市場知名度,
不少鹵味鴨脖都穿上了它的外衣,冒充起這只著名的鴨子。一時間“周黑鴨”店鋪如雨后春筍,鴨脖子的江湖真假難辨。
近日,北京知識產權法院審結了一起侵犯“周黑鴨”商標權的民事二審案件。
? ? ?周黑鴨公司是“周黑鴨”系列商標的所有人。2018年6月,周黑鴨公司發現西府巨芳公司未經許可在其開設的熟食鹵制品店的店鋪招牌、
購物袋上使用“周黑鴨ZHOU HEI YA”“周黑鴨ZHOU HEI YA及圖”商標,周黑鴨公司以侵害商標權為由訴至法院。

?
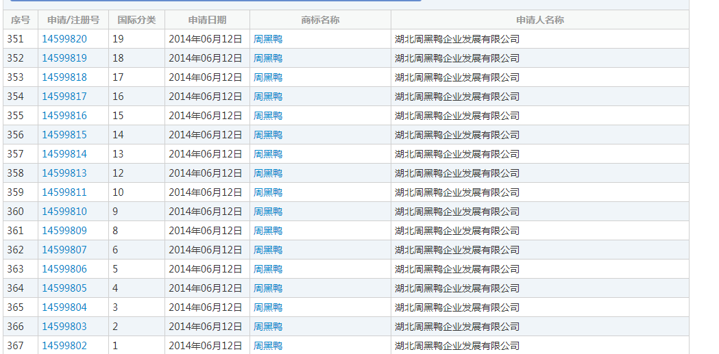
周黑鴨公司注冊的周黑鴨商標類:
?
因此,北京知識產權法院經審理認為
一、被告是否為本案適格主體
? ? ?被告是由個體轉企業改制而來。原告發現,在涉案店鋪購買鴨脖時微信支付交易記錄上顯示的商家名稱即為該企業,
據此可知,被告為涉案店鋪的經營者,是本案適格的主體。
二、被告是否構成商標侵權
? ? ?被告未經許可,在同一種商品上使用了與原告注冊商標相同的商標,以及在相同商品上使用與其注冊商標近似的商標,
容易導致公眾混淆,上述兩種行為侵犯了原告的注冊商標專用權,應承擔相應侵權責任。
三、賠償數額
? ? ?因原告未舉證證明其實際損失、被告獲利情況,綜合考慮原告享有商標的知名度、被告的經營規模、銷售形式等情節,
一審法院酌定賠償數額3萬元及合理支出1000元,并無不當。
?
?
來源:IPRdaily
?
本文標題和鏈接 真假周黑鴨商標注冊: http://www.novinka-kino.com/article/id/1067.html 轉載時請注明出處為詩宸商標查詢及本鏈接!
如有內容侵犯您的合法權益,請及時與我們聯系Email:75696531@qq.com,我們將第一時間安排刪除。
						發布于2024-08-13 04:24:55